更新日期:2024-04-01 00:04:00
产品简介:具有可调节电流限制的 40V、160mΩ、4 通道汽车类智能高侧开关
查看详情TPS4H160BQPWPRQ1 供应商
- 公司
- 型号
- 品牌
- 封装/批号
- 数量
- 地区
- 日期
- 说明
- 询价
-
TI
-
HTSSOP28
22+ -
8000
-
深圳
-
11-08
-
原包原合.原装
-
TI
-
原厂原装
22+ -
3288
-
上海市
-
-
-
一级代理原装
-
TI
-
HTSSOP-28
24+ -
6000
-
上海市
-
-
-
上海现货
-
TI(德州仪器)
-
HTSSOP-28
2022+ -
12000
-
上海市
-
-
-
原装可开发票
-
TI
-
HTSSOP28
21+ -
50000
-
上海市
-
-
-
原装现货!品质为先!请来电垂询!
-
TSSOP
23+ -
46000
-
合肥
-
-
-
科大讯飞战略投资企业,提供一站式配套服务
TPS4H160BQPWPRQ1 中文资料属性参数
- 现有数量:0现货查看交期
- 价格:1 : ¥23.69000剪切带(CT)2,000 : ¥13.39161卷带(TR)
- 系列:Automotive, AEC-Q100
- 包装:卷带(TR)剪切带(CT)Digi-Reel? 得捷定制卷带
- 产品状态:在售
- 开关类型:通用
- 输出数:4
- 比率 - 输入:输出:1:1
- 输出配置:高端
- 输出类型:N 通道
- 接口:开/关
- 电压 - 负载:3.4V ~ 40V
- 电压 - 供电 (Vcc/Vdd):不需要
- 电流 - 输出(最大值):2.5A
- 导通电阻(典型值):165 毫欧
- 输入类型:非反相
- 特性:状态标志
- 故障保护:限流(固定),超温
- 工作温度:-40°C ~ 125°C(TA)
- 安装类型:表面贴装型
- 供应商器件封装:28-HTSSOP
- 封装/外壳:28-PowerTSSOP(0.173",4.40mm Width)
产品特性
- 符合汽车类应用 要求
- 具有符合 AEC-Q100 标准的下列特性: 器件温度等级 1:–40°C 至 +125°C 的环境工作温度范围 器件 HBM ESD 分类等级 H3A器件 CDM ESD 分类等级 C4B
- 器件温度等级 1:–40°C 至 +125°C 的环境工作温度范围
- 器件 HBM ESD 分类等级 H3A
- 器件 CDM ESD 分类等级 C4B
- 提供功能安全 提供文档以帮助创建功能安全系统设计
- 提供文档以帮助创建功能安全系统设计
- 具有丰富诊断功能的四通道 160mΩ 智能高侧开关 版本 A:开漏数字输出版本 B:电流感应模拟输出
- 版本 A:开漏数字输出
- 版本 B:电流感应模拟输出
- 宽工作电压范围:3.4V 至 40V
- 超低待机电流:< 500nA
- 高精度电流感测:> 25mA 的负载条件下为 ±15%
- 可使用外部电阻调节电流限值,> 500mA 的负载条件下为 ±15%
- 保护 通过(内部或外部)电流限制实现接地短路保护具有锁闭选项的热关断以及热调节感性负载负电压钳位,已优化转换率失地保护和失电保护
- 通过(内部或外部)电流限制实现接地短路保护
- 具有锁闭选项的热关断以及热调节
- 感性负载负电压钳位,已优化转换率
- 失地保护和失电保护
- 诊断 过流和接地短路检测负载开路和电池短路检测用于实现快速中断的全局故障报告
- 过流和接地短路检测
- 负载开路和电池短路检测
- 用于实现快速中断的全局故障报告
- 28 引脚耐热增强型 PWP 封装
产品概述
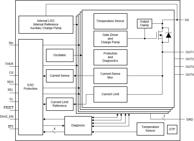
TPS4H160-Q1 器件是一款集成四个 160mΩ N 型金属氧化物半导体 (NMOS) 功率场效应晶体管 (FET) 且受到全方位保护的四通道智能高侧开关。该器件具有丰富的诊断功能以及高精度电流感测功能,能够对负载实施智能控制。该器件可从外部调节电流限值以限制浪涌或过载电流,从而提升整个系统的可靠性。
TPS4H160BQPWPRQ1 电路图

TPS4H160BQPWPRQ1 电路图
TPS4H160BQPWPRQ1 相关产品
- 2SD300C17A1
- 2SP0115T2A0-12
- 5962-1022101VSC
- 5962-8686102XA
- 5962-8688202XA
- 5962-89728022A
- 5962-89805012A
- 5962-8982402PA
- 5962-9322201MEA
- 7604501EA
- 85514012A
- 8551401PA
- 905X0205100
- 90E23PYGI8
- 90E24PYGI8
- 90E36ERGI
- A4910KJPTR-T
- A4915METTR-T
- A4930GETTR-T
- A4990KLPTR-T
- A5974AD
- A5974D
- A5975D
- A8304SESTR-T
- AAT2153IVN-0.6-T1
- AAT2823IBK-1-T1
- AAT4684ITP-T1
- AD536ASD/883B
- AD536ASH/883B
- AD580SH/883B