更新日期:2024-04-01 00:04:00
产品简介:具有诊断功能的双通道降压转换器和 5V 升压转换器
查看详情LP87702DRHBTQ1 供应商
- 公司
- 型号
- 品牌
- 封装/批号
- 数量
- 地区
- 日期
- 说明
- 询价
-
TI
-
原厂原装
22+ -
3288
-
上海市
-
-
-
一级代理原装
-
TI
-
原厂原装
2318+ -
9200
-
合肥
-
-
-
科大讯飞战略投资企业
LP87702DRHBTQ1 中文资料属性参数
- 现有数量:2,265现货6,750Factory
- 价格:1 : ¥45.08000剪切带(CT)250 : ¥31.47368卷带(TR)
- 系列:Automotive, AEC-Q100
- 包装:卷带(TR)剪切带(CT)Digi-Reel? 得捷定制卷带
- 产品状态:在售
- 应用:汽车,摄像头
- 电流 - 供电:27mA
- 电压 - 供电:2.8V ~ 5.5V
- 工作温度:-40°C ~ 125°C
- 安装类型:表面贴装型
- 封装/外壳:32-VFQFN 裸露焊盘
- 供应商器件封装:32-VQFN(5x5)
产品特性
- 符合面向汽车应用的 AEC-Q100 标准: 器件温度等级 1:–40°C 至 +125°C,TA
- 器件温度等级 1:–40°C 至 +125°C,TA
- 功能安全质量管理型 可帮助进行功能安全系统设计的文档 用于外部电压监控的两个输入 两个可编程电源正常信号 用于诊断的专用基准电压 支持复位输出的窗口看门狗 输出短路和过载保护 过热警告和保护 过压保护 (OVP) 和欠压锁定 (UVLO)
- 可帮助进行功能安全系统设计的文档
- 用于外部电压监控的两个输入
- 两个可编程电源正常信号
- 用于诊断的专用基准电压
- 支持复位输出的窗口看门狗
- 输出短路和过载保护
- 过热警告和保护
- 过压保护 (OVP) 和欠压锁定 (UVLO)
- 两个高效降压直流/直流转换器: 最大输出电流 3.5A 2MHz、3MHz 或 4MHz 开关频率 自动 PWM/PFM 和强制 PWM 工作模式 输出电压范围为 0.7V 至 3.36V
- 最大输出电流 3.5A
- 2MHz、3MHz 或 4MHz 开关频率
- 自动 PWM/PFM 和强制 PWM 工作模式
- 输出电压范围为 0.7V 至 3.36V
- 的 5V 升压转换器: 最大输出电流 600mA
- 最大输出电流 600mA
- 外部时钟输入,用于同步
- 扩频调制
- 可通过使能信号实现可编程启动、关断延迟与时序控制
- 可配置通用输出 (GPO)
- I2C 兼容接口, 支持标准 (100kHz)、快速 (400kHz)、快速+ (1MHz) 和高速 (3.4MHz) 模式
- 具有可编程屏蔽的中断功能
产品概述
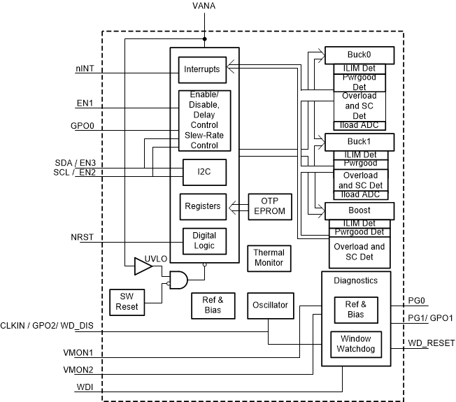
有助于满足最新平台,尤其是汽车雷达和摄像头以及工业雷达应用的电源管理要求。 该器件包含两个降压直流/直流转换器和一个 5V 升压转换器/旁路开关,可支持安全关键型应用。该器件集成了两个用于外部电源的电压监控输入和一个窗口看门狗。自动 PWM/PFM(AUTO 模式)运行可在降压转换器的较宽输出电流范围内实现较高效率。 采用远程电压检测功能来补偿转换器输出与负载点之间的 IR 压降,从而提高输出电压的精度。可编程启动和关断排序可支持同步至使能信号,具有通用数字输出。在启动和电压变化期间,该器件会对输出压摆率进行控制,从而最大限度地减小输出电压过冲和浪涌电流。该器件包含一次性可编程 (OTP) 内存。对于给定的应用,每个可订购器件型号都有特定的 OTP 设置。有关每个可订购器件型号的默认 OTP 配置的详细信息,请参见技术参考手册。
LP87702DRHBTQ1 电路图

LP87702DRHBTQ1 电路图
LP87702DRHBTQ1 相关产品
- 2SD300C17A1
- 2SP0115T2A0-12
- 5962-1022101VSC
- 5962-8686102XA
- 5962-8688202XA
- 5962-89728022A
- 5962-89805012A
- 5962-8982402PA
- 5962-9322201MEA
- 7604501EA
- 85514012A
- 8551401PA
- 905X0205100
- 90E23PYGI8
- 90E24PYGI8
- 90E36ERGI
- A4910KJPTR-T
- A4915METTR-T
- A4930GETTR-T
- A4990KLPTR-T
- A5974AD
- A5974D
- A5975D
- A8304SESTR-T
- AAT2153IVN-0.6-T1
- AAT2823IBK-1-T1
- AAT4684ITP-T1
- AD536ASD/883B
- AD536ASH/883B
- AD580SH/883B