更新日期:2024-04-01 00:04:00
产品简介:具有集成开关的汽车级多相 8A + 4A + 4A 降压转换器
查看详情LP875630RNFTQ1 供应商
- 公司
- 型号
- 品牌
- 封装/批号
- 数量
- 地区
- 日期
- 说明
- 询价
-
TI
-
原厂原装
22+ -
3288
-
上海市
-
-
-
一级代理原装
-
TI(德州仪器)
-
VQFN-26-HR(4.5x4)
2022+ -
12000
-
上海市
-
-
-
原装可开发票
LP875630RNFTQ1 中文资料属性参数
- 现有数量:250现货
- 价格:1 : ¥60.42000剪切带(CT)250 : ¥43.16640卷带(TR)
- 系列:Automotive, AEC-Q100
- 包装:卷带(TR)剪切带(CT)Digi-Reel? 得捷定制卷带
- 产品状态:在售
- 功能:降压
- 输出配置:正
- 拓扑:降压
- 输出类型:可调式
- 输出数:4
- 电压 - 输入(最小值):2.8V
- 电压 - 输入(最大值):5.5V
- 电压 - 输出(最小值/固定):0.6V
- 电压 - 输出(最大值):3.36V
- 电流 - 输出:16A
- 频率 - 开关:2MHz
- 同步整流器:是
- 工作温度:-40°C ~ 125°C(TA)
- 安装类型:表面贴装,可润湿侧翼
- 封装/外壳:26-PowerVFQFN
- 供应商器件封装:26-VQFN-HR(4.5x4)
产品特性
- 符合汽车类 标准
- 具有符合 AEC-Q100 标准的下列特性: 器件温度 1 级:-40℃ 至 +125℃ 的环境运行温度范围器件 HBM ESD 分类等级 2 器件 CDM ESD 分类等级 C4B
- 器件温度 1 级:-40℃ 至 +125℃ 的环境运行温度范围
- 器件 HBM ESD 分类等级 2
- 器件 CDM ESD 分类等级 C4B
- 输入电压:2.8V 至 5.5V
- 输出电压:0.6V 至 3.36V
- 四个高效降压直流/直流转换器内核:最大输出电流:16A(4A/相)可编程输出电压压摆率范围:0.5mV/µs 至 10mV/µs
- 最大输出电流:16A(4A/相)
- 可编程输出电压压摆率范围:0.5mV/µs 至 10mV/µs
- 开关频率:2MHz
- 扩频模式和相位交错
- 可配置通用 I/O (GPIO)
- I2C 兼容接口,支持标准 (100kHz)、快速 (400kHz)、快速+ (1MHz) 和高速 (3.4MHz) 模式
- 具有可编程屏蔽的中断功能
- 可编程电源正常信号 (PGOOD)
- 输出短路和过载保护
- 过热警告和保护
- 过压保护 (OVP) 和欠压锁定 (UVLO)
产品概述
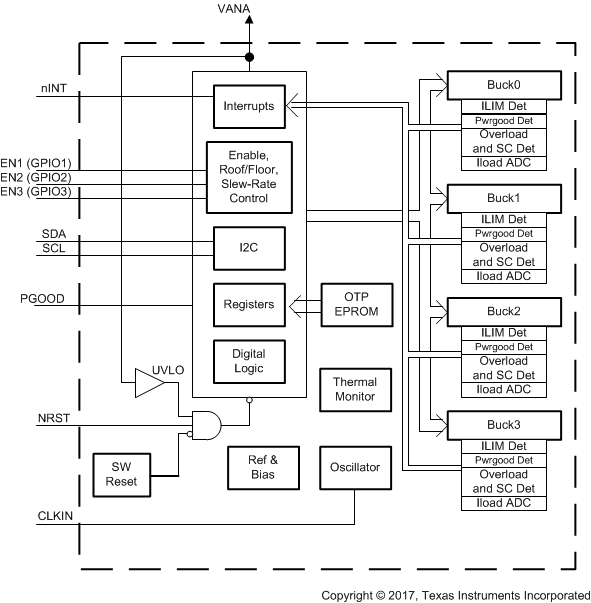
LP8756x-Q1 器件专为满足各种汽车电源 应用中最新处理器和平台的电源管理要求而设计。该器件包含四个降压直流/直流转换器内核,这些内核可配置为 1 个四相输出、1 个三相和 1 个单相输出、2 个两相输出、1 个两相和 2 个单相输出,或者 4 个单相输出。该器件由 I2C 兼容串行接口和使能信号进行控制。自动脉宽调制 (PWM) 到脉频调制 (PFM) 操作(AUTO 模式)与自动增相和切相相结合,可在较宽输出电流范围内最大限度地提高效率。LP8756x-Q1 支持对多相位输出的远程差分电压检测,可补偿稳压器输出与负载点 (POL) 之间的 IR 压降,从而提高输出电压的精度。此外,可以强制开关时钟进入 PWM 模式以及将其与外部时钟同步,从而最大限度地降低干扰。LP8756x-Q1 器件支持在不添加外部电流检测电阻器的情况下进行负载电流测量。该器件还支持与使能信号同步的可编程启动与关断延迟和序列。这些序列可能包括用于控制外部稳压器、负载开关和处理器复位的 GPIO 信号。在启动和电压变化期间,该器件会对输出压摆率进行控制,从而最大限度地减小输出电压过冲和浪涌电流。
LP875630RNFTQ1 电路图

LP875630RNFTQ1 电路图
LP875630RNFTQ1 相关产品
- 2SD300C17A1
- 2SP0115T2A0-12
- 5962-1022101VSC
- 5962-8686102XA
- 5962-8688202XA
- 5962-89728022A
- 5962-89805012A
- 5962-8982402PA
- 5962-9322201MEA
- 7604501EA
- 85514012A
- 8551401PA
- 905X0205100
- 90E23PYGI8
- 90E24PYGI8
- 90E36ERGI
- A4910KJPTR-T
- A4915METTR-T
- A4930GETTR-T
- A4990KLPTR-T
- A5974AD
- A5974D
- A5975D
- A8304SESTR-T
- AAT2153IVN-0.6-T1
- AAT2823IBK-1-T1
- AAT4684ITP-T1
- AD536ASD/883B
- AD536ASH/883B
- AD580SH/883B