更新日期:2024-04-01 00:04:00
产品简介:用于 J6 入门处理器的汽车类双路 2A 降压转换器和双路线性稳压器
查看详情LP873220RHDTQ1 供应商
- 公司
- 型号
- 品牌
- 封装/批号
- 数量
- 地区
- 日期
- 说明
- 询价
-
TI
-
原厂原装
22+ -
3288
-
上海市
-
-
-
一级代理原装
-
TI(德州仪器)
-
VQFN-28
2022+ -
12000
-
上海市
-
-
-
原装可开发票
LP873220RHDTQ1 中文资料属性参数
- 现有数量:250现货
- 价格:1 : ¥33.63000剪切带(CT)250 : ¥23.45824卷带(TR)
- 系列:Automotive, AEC-Q100
- 包装:卷带(TR)剪切带(CT)Digi-Reel? 得捷定制卷带
- 产品状态:在售
- 拓扑:降压(2),线性(LDO)(2)
- 输出数:4
- 频率 - 开关:2MHz
- 电压/电流 - 输出 1:0.7V ~ 3.36V,2A
- 电压/电流 - 输出 2:0.7V ~ 3.36V,2A
- 电压/电流 - 输出 3:0.8V ~ 3.3V,300mA
- 带 LED 驱动器:无
- 带监控器:无
- 带定序器:无
- 电压 - 供电:2.5V ~ 5.5V
- 工作温度:-40°C ~ 125°C(TA)
- 安装类型:表面贴装,可润湿侧翼
- 封装/外壳:28-VFQFN 裸露焊盘
- 供应商器件封装:28-VQFN(5x5)
产品特性
- 具有符合 AEC-Q100 标准的下列特性: 器件温度等级 1:–40°C 至 +125°C 环境工作温度范围
- 器件温度等级 1:–40°C 至 +125°C 环境工作温度范围
- 输入电压:2.8V 至 5.5V
- 两个高效降压直流/直流转换器: 输出电压:0.7V 至 3.36V 最大输出电流为 2A 可编程输出电压压摆率范围:0.5mV/µs 至 10mV/µs 2MHz 开关频率 用于降低 EMI 的扩频模式和相位交错
- 输出电压:0.7V 至 3.36V
- 最大输出电流为 2A
- 可编程输出电压压摆率范围:0.5mV/µs 至 10mV/µs
- 2MHz 开关频率
- 用于降低 EMI 的扩频模式和相位交错
- 两个线性稳压器: 输入电压:2.5V 至 5.5V 输出电压:0.8V 至 3.3V 最大输出电流为 300mA
- 输入电压:2.5V 至 5.5V
- 输出电压:0.8V 至 3.3V
- 最大输出电流为 300mA
- 可配置通用输出信号(GPO、GPO2)
- 具有可编程屏蔽的中断功能
- 可编程电源正常信号 (PGOOD)
- 输出短路和过载保护
- 过热警告和保护
- 过压保护 (OVP) 和欠压锁定 (UVLO)
- 具有可湿性侧面的 28 引脚、5mm × 5mm VQFN 封装
产品概述
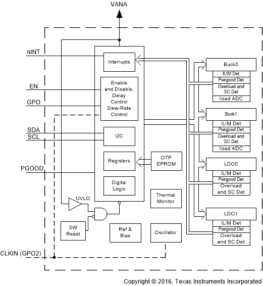
LP873220-Q1 旨在满足汽车摄像头和雷达应用中新型处理器和平台的电源管理要求。该器件具有两个降压直流/直流转换器、两个线性稳压器以及两个通用数字输出信号。该器件由 I2C 兼容串行接口和使能信号进行控制。自动 PWM/PFM(AUTO 模式)运行,可在较宽输出电流范围内提供高效率。LP873220-Q1 支持远程电压感应,可补偿稳压器输出与负载点 (POL) 之间的 IR 压降,从而提高输出电压的精度。此外,可以强制开关时钟进入 PWM 模式以及将其与外部时钟同步,从而更大限度地降低干扰。LP873220-Q1 器件还支持可编程启动、关断延迟与时序控制(包括与使能信号同步的 GPO 信号)。在启动和电压变化期间,器件会对输出转换率进行控制,从而更大限度地减小输出电压过冲和浪涌电流。
LP873220RHDTQ1 电路图
LP873220RHDTQ1 电路图
LP873220RHDTQ1 相关产品
- 2SD300C17A1
- 2SP0115T2A0-12
- 5962-1022101VSC
- 5962-8686102XA
- 5962-8688202XA
- 5962-89728022A
- 5962-89805012A
- 5962-8982402PA
- 5962-9322201MEA
- 7604501EA
- 85514012A
- 8551401PA
- 905X0205100
- 90E23PYGI8
- 90E24PYGI8
- 90E36ERGI
- A4910KJPTR-T
- A4915METTR-T
- A4930GETTR-T
- A4990KLPTR-T
- A5974AD
- A5974D
- A5975D
- A8304SESTR-T
- AAT2153IVN-0.6-T1
- AAT2823IBK-1-T1
- AAT4684ITP-T1
- AD536ASD/883B
- AD536ASH/883B
- AD580SH/883B

搜索
发布采购