更新日期:2024-04-01 00:04:00
产品简介:用于 AM570x 的工业双路 2A 降压转换器和双路线性稳压器
查看详情LP873220RHDT 供应商
- 公司
- 型号
- 品牌
- 封装/批号
- 数量
- 地区
- 日期
- 说明
- 询价
-
TI
-
原厂原装
22+ -
3288
-
上海市
-
-
-
一级代理原装
-
TI(德州仪器)
-
VQFN-28
2022+ -
12000
-
上海市
-
-
-
原装可开发票
LP873220RHDT 中文资料属性参数
- 现有数量:212现货
- 价格:1 : ¥29.26000剪切带(CT)250 : ¥20.39912卷带(TR)
- 系列:-
- 包装:卷带(TR)剪切带(CT)Digi-Reel? 得捷定制卷带
- 产品状态:在售
- 拓扑:降压(2),线性(LDO)(2)
- 输出数:4
- 频率 - 开关:2MHz
- 电压/电流 - 输出 1:0.7V ~ 3.36V,2A
- 电压/电流 - 输出 2:0.7V ~ 3.36V,2A
- 电压/电流 - 输出 3:0.8V ~ 3.3V,300mA
- 带 LED 驱动器:无
- 带监控器:无
- 带定序器:无
- 电压 - 供电:2.5V ~ 5.5V
- 工作温度:-40°C ~ 125°C(TA)
- 安装类型:表面贴装,可润湿侧翼
- 封装/外壳:28-VFQFN 裸露焊盘
- 供应商器件封装:28-VQFN(5x5)
产品特性
- 器件工作温度范围:–40°C 至 +125°C 环境温度
- 输入电压:2.8V 至 5.5V
- 两个高效降压直流/直流转换器: 输出电压:0.7V 至 3.36V 最大输出电流为 2A 可编程输出电压压摆率范围:0.5mV/µs 至 10mV/µs 2MHz 开关频率 用于降低 EMI 的扩频模式和相位交错
- 输出电压:0.7V 至 3.36V
- 最大输出电流为 2A
- 可编程输出电压压摆率范围:0.5mV/µs 至 10mV/µs
- 2MHz 开关频率
- 用于降低 EMI 的扩频模式和相位交错
- 两个线性稳压器: 输入电压:2.5V 至 5.5V 输出电压:0.8V 至 3.3V 最大输出电流为 300mA
- 输入电压:2.5V 至 5.5V
- 输出电压:0.8V 至 3.3V
- 最大输出电流为 300mA
- 可配置通用输出信号(GPO、GPO2)
- 具有可编程屏蔽的中断功能
- 可编程电源正常信号 (PGOOD)
- 输出短路和过载保护
- 过热警告和保护
- 过压保护 (OVP) 和欠压锁定 (UVLO)
- 具有可湿性侧面的 28 引脚、5mm × 5mm VQFN 封装
产品概述
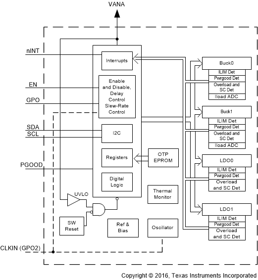
LP873220 旨在满足工业应用中新型处理器和平台的电源管理要求。该器件具有两个降压直流/直流转换器、两个线性稳压器以及两个通用数字输出信号。该器件由 I2C 兼容串行接口和使能信号进行控制。自动 PWM/PFM(AUTO 模式)运行,可在较宽输出电流范围内提供高效率。LP873220 支持远程电压感应,可补偿稳压器输出与负载点 (POL) 之间的 IR 压降,从而提高输出电压的精度。此外,可以强制开关时钟进入 PWM 模式以及将其与外部时钟同步,从而更大限度地降低干扰。LP873220 器件支持在不添加外部电流检测电阻器的情况下进行负载电流测量。LP873220 器件还支持可编程启动、关断延迟与时序控制(包括与使能信号同步的 GPO 信号)。如果不需要外部时钟,则可以通过 CLKIN 引脚的引脚多路复用提供第二个 GPO 信号。在启动和电压变化期间,器件会对输出转换率进行控制,从而更大限度地减小输出电压过冲和浪涌电流。
LP873220RHDT 电路图
LP873220RHDT 电路图
LP873220RHDT 相关产品
- 2SD300C17A1
- 2SP0115T2A0-12
- 5962-1022101VSC
- 5962-8686102XA
- 5962-8688202XA
- 5962-89728022A
- 5962-89805012A
- 5962-8982402PA
- 5962-9322201MEA
- 7604501EA
- 85514012A
- 8551401PA
- 905X0205100
- 90E23PYGI8
- 90E24PYGI8
- 90E36ERGI
- A4910KJPTR-T
- A4915METTR-T
- A4930GETTR-T
- A4990KLPTR-T
- A5974AD
- A5974D
- A5975D
- A8304SESTR-T
- AAT2153IVN-0.6-T1
- AAT2823IBK-1-T1
- AAT4684ITP-T1
- AD536ASD/883B
- AD536ASH/883B
- AD580SH/883B

搜索
发布采购