更新日期:2024-04-01 00:04:00
产品简介:eUSB2 至 USB 2.0 双路中继器
查看详情TUSB2E22YCGT 供应商
- 公司
- 型号
- 品牌
- 封装/批号
- 数量
- 地区
- 日期
- 说明
- 询价
-
TI
-
原厂原装
22+ -
3288
-
上海市
-
-
-
一级代理原装
TUSB2E22YCGT 中文资料属性参数
- 现有数量:0现货查看交期
- 价格:1 : ¥48.97000剪切带(CT)250 : ¥34.96304卷带(TR)
- 系列:-
- 包装:卷带(TR)剪切带(CT)Digi-Reel? 得捷定制卷带
- 产品状态:在售
- 类型:转接驱动器
- 应用:USB
- 输入:-
- 输出:-
- 数据速率(最大值):-
- 通道数:2
- 延迟时间:-
- 信号调节:-
- 电容 - 输入:-
- 电压 - 供电:3V ~ 3.6V
- 电流 - 供电:-
- 工作温度:-20°C ~ 85°C(TA)
- 安装类型:表面贴装型
- 封装/外壳:25-XFBGA,DSBGA
- 供应商器件封装:25-DSBGA(2x2)
产品特性
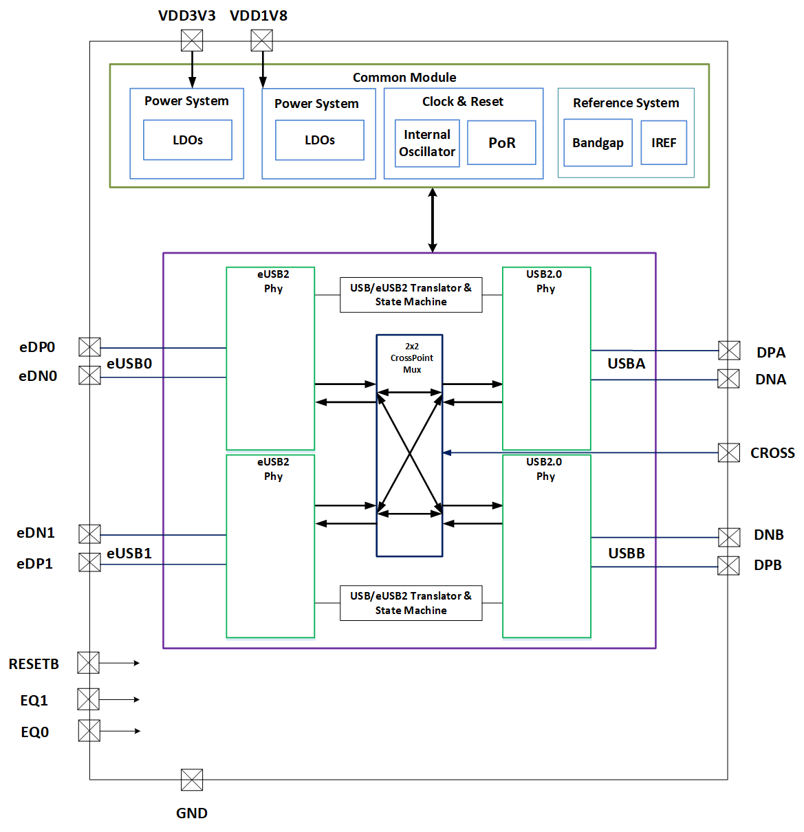
- 符合 USB 2.0 和 eUSB2 标准(修订版 1.1)
- 支持低速 (LS)、全速 (FS)、高速 (HS)
- 具有 2:2 交叉开关多路复用器的双路中继器
- 支持主机和器件模式 (DRD)
- 4 种 eUSB2 补偿设置,可满足不同的系统要求
- eUSB2 LS/FS 信令满足 eUSB2 接口的 1.2V 选项要求
产品概述
TUSB2E22 允许在使用较低电压工艺的较新处理器上实现符合 USB 2.0 标准的端口。 TUSB2E22 是一款支持器件和主机模式且符合 USB 标准的 eUSB2 至 USB 2.0 中继器。 TUSB2E22 支持 USB 低速 (LS)、全速 (FS) 和高速 (HS) 信号。 TUSB2E22 旨在连接在 1.2V 单端信令下工作的 eUSB2 eDSPr 或 eUSPr。 TUSB2E22 通过 EQ0 和 EQ1 引脚提供 4 种补偿设置级别。这些设置可用于优化不同 eUSB2 通道损耗曲线的补偿。
TUSB2E22YCGT 电路图

TUSB2E22YCGT 电路图
TUSB2E22YCGT 相关产品
- 14212R-500
- 14222R-800
- 14230R-450
- 14315R-100
- 5962-8771601EA
- 5962-89710013X
- 5962-8971001XX
- 65LBC174AM16DWREP
- 6PAIC3109TRHBRQ1
- 6PAIC3109TWRHMRQ1
- 6PAIC3254IRHBRQ1
- 77049012A
- 7900901CA
- 821004JG
- 821034DNG
- 82V2058XDAG
- 82V2084PFG
- 82V2088BBG
- 88E1510-A0-NNB2C000
- 88E1512-A0-NNP2C000
- 88E1512-A0-NNP2I000
- 88E1514-A0-NNP2C000
- 88E1518-A0-NNB2C000
- 88E3015-A2-NNP1C000
- 88E3082-C1-BAR1C000
- 88E3082-C1-BAR1I000
- 89H64H16AG2ZCBLG
- 89HP0504PBZBNRGI
- 89HPES4T4ZBBCGI
- 89HT0816PYDBCG