- 封装:6-WDFN 裸露焊盘
- RoHS:无铅 / 符合限制有害物质指令(RoHS)规范要求
- 包装方式:Digi-Reel®
- 参考价格:$1.6472-$2.26
更新日期:2024-04-01 00:04:00
产品简介:采用 2mm x 2mm 封装且具有 PWM 亮度控制功能的白光 LED 驱动器,支持多达 10 个串联 LED
查看详情- 封装:6-WDFN 裸露焊盘
- RoHS:无铅 / 符合限制有害物质指令(RoHS)规范要求
- 包装方式:Digi-Reel®
- 参考价格:$1.6472-$2.26
TPS61160ADRVT 供应商
- 公司
- 型号
- 品牌
- 封装/批号
- 数量
- 地区
- 日期
- 说明
- 询价
-
TI
-
原厂原装
22+ -
3288
-
上海市
-
-
-
一级代理原装
-
TI
-
-
21+ -
100000
-
上海市
-
-
-
原装现货,品质为先!请来电垂询!
TPS61160ADRVT 中文资料属性参数
- 标准包装:1
- 类别:集成电路 (IC)
- 家庭:PMIC - LED 驱动器
- 系列:-
- 恒定电流:-
- 恒定电压:-
- 拓扑:PWM,升压(升压)
- 输出数:1
- 内部驱动器:是
- 类型 - 主要:背光
- 类型 - 次要:白色 LED
- 频率:500kHz ~ 700kHz
- 电源电压:2.7 V ~ 18 V
- 输出电压:26V
- 安装类型:表面贴装
- 封装/外壳:6-WDFN 裸露焊盘
- 供应商设备封装:6-SON 裸露焊盘(2x2)
- 包装:Digi-Reel®
- 工作温度:-40°C ~ 85°C
- 其它名称:296-32500-6
产品特性
- Input Voltage Range: 2.7 V to 18 V
- 26-V Open LED Protection for TPS61160A 38-V Open LED Protection for TPS61161A
- 200mV Reference Voltage With ±2% Accuracy
- PWM Interface for Brightness Control
- Built-in Soft Start
- Up to 90% Efficiency
- 2-mm × 2-mm × 0.8-mm 6-Pin WSON Package With Thermal Pad
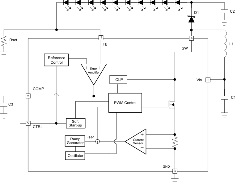
产品概述
With a 40-V rated integrated switch FET, the TPS61160A/61A is a boost converter that
drives LEDs in series. The boost converter runs at 600-kHz fixed switching frequency to reduce
output ripple, improve conversion efficiency, and allows for the use of small external
components.The default white LED current is set with the external sensor resistor
Rset, and the feedback voltage is regulated to 200 mV, as shown in the
typical application. During the operation, the LED current can be controlled by a pulse width
modulation (PWM) signal applied to the CTRL pin through which the duty cycle determines the
feedback reference voltage. In PWM dimming mode, the TPS61160A/61A does not burst the LED current;
therefore, it does not generate audible noises on the output capacitor. For maximum protection, the
device features integrated open LED protection that disables the TPS61160A/61A to prevent the
output from exceeding the absolute maximum ratings during open LED conditions.The TPS61160A/61A is available in a space-saving, 2-mm × 2-mm WSON package with thermal
pad.
TPS61160ADRVT 电路图
TPS61160ADRVT 电路图
TPS61160ADRVT 相关产品
- A6281EESTR-T
- AD8240YRM
- AD8240YRMZ
- ADD5203ACPZ-RL
- ADD5205ACPZ-RL
- ADD5207ACPZ-RL
- ADP1650ACBZ-R7
- ADP1650ACPZ-R7
- ADP1653ACPZ-R7
- ADP5520ACPZ-R7
- ADP8860ACPZ-R7
- ADP8861ACBZ-R7
- ADP8861ACPZ-R7
- ADP8861ACPZ-RL
- ADP8863ACBZ-R7
- ADP8863ACPZ-R7
- ADP8866ACPZ-R7
- ADP8870ACBZ-R7
- ADP8870ACPZ-R7
- AL5802-7
- AL8400SE-7
- AL8805W5-7
- AL8807MP-13
- AL9910ASP-13
- AOZ1935QI
- AP3156FVG-7
- AP8802SPG-13
- AS3693B-ZTQT
- AS3695C-ZMFT
- BD1606MVV-E2

搜索
发布采购