- 参考价格:¥22.63-¥43.47
更新日期:2024-04-01 00:04:00
产品简介:具有集成 VCO 的 PLLatinum 双路频率合成器系统
查看详情- 参考价格:¥22.63-¥43.47
LMX2522LQ1635/NOPB 供应商
- 公司
- 型号
- 品牌
- 封装/批号
- 数量
- 地区
- 日期
- 说明
- 询价
-
TI
-
原厂原装
22+ -
3288
-
上海市
-
-
-
一级代理原装
LMX2522LQ1635/NOPB 中文资料属性参数
- 制造商:National Semiconductor (TI)
- 类型:PLL Frequency Synthesizer
- 电路数量:1
- 最小输入频率:440.76 MHz (Typ)
- 输出频率范围:1619.62 MHz to 1649.62 MHz
- Supply Voltage - Max:3.3 V
- Supply Voltage - Min:2.7 V
- 最大工作温度:+ 85 C
- 最小工作温度:- 30 C
- 封装 / 箱体:LLP EP
- 封装:Reel
- 安装风格:SMD/SMT
- 工作电源电压:2.8 V
- 工厂包装数量:1000
产品特性
- Small SizeSmall 5.0 mm x 5.0 mm x 0.75 mm 28-Pin WQFN Package
- Small 5.0 mm x 5.0 mm x 0.75 mm 28-Pin WQFN Package
- RF/GPS Synthesizer SystemIntegrated RF VCO Integrated GPS VCO Integrated Loop Filter Low Spurious, Low Phase Noise Fractional-N RF PLL Based on 11-bit Delta Sigma Modulator 10 kHz Frequency Resolution
- Integrated RF VCO
- Integrated GPS VCO
- Integrated Loop Filter
- Low Spurious, Low Phase Noise Fractional-N RF PLL Based on 11-bit Delta Sigma Modulator
- 10 kHz Frequency Resolution
- IF Synthesizer SystemInteger-N IF PLL Programmable Charge Pump Current Levels Programmable Frequencies
- Integer-N IF PLL
- Programmable Charge Pump Current Levels
- Programmable Frequencies
- Supports Various Reference Oscillator Frequencies19.20/19.68 MHz
- 19.20/19.68 MHz
- Fast Lock Time: 500 µs
- Low Current Consumption17 mA at 2.8 V
- 17 mA at 2.8 V
- 2.7 V to 3.3 V Operation
- Digital Filtered Lock Detect Output
- Hardware and Software Power Down Control
产品概述
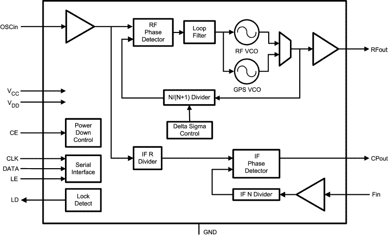
LMX2522 and LMX2532 are highly integrated, high performance, low power frequency
synthesizer systems optimized for Korean PCS (K-PCS) with GPS and Korean Cellular (K-Cellular) with
GPS, CDMA (1xRTT, IS-95) mobile handsets. Using a proprietary digital phase locked loop technique,
LMX2522 and LMX2532 generate very stable, low noise local oscillator signals for up and down
conversion in wireless communications devices.LMX2522 and LMX2532 include a RF voltage controlled oscillator (VCO), a GPS VCO, a loop
filter, and a fractional-N RF PLL based on a delta sigma modulator. In concert these blocks form a
closed loop RF and GPS synthesizer system. LMX2522 supports the Korean PCS band with GPS and
LMX2532 supports the Korean Cellular band with GPS.LMX2522 and LMX2532 include an Integer-N IF PLL also. For more flexible loop filter
designs, the IF PLL includes a 4-level programmable charge pump. Together with an external VCO and
loop filter, LMX2522 and LMX2532 make a complete closed loop IF synthesizer system.Serial data is transferred to the device via a three-wire MICROWIRE interface (DATA, LE,
CLK).Operating supply voltage ranges from 2.7 V to 3.3 V. LMX2502 and LMX2512 feature low
current consumption: 17 mA at 2.8 V.LMX2522 and LMX2532 are available in a 28-pin WQFN package.
LMX2522LQ1635/NOPB 数据手册
数据手册 | 说明 | 数量 | 操作 |
---|---|---|---|
![]() |
RF IC Frequency Synthesizer CDMA, PCS 1635MHz Integrated PLL and VCO 28-WQFN (5x5) |
26页,850K | 查看 |
LMX2522LQ1635/NOPB 电路图

LMX2522LQ1635/NOPB 电路图
LMX2522LQ1635/NOPB 相关产品
- 100301QC
- 100304QC
- 100310QC
- 100311QC
- 100313QC
- 100316QC
- 100322QC
- 100329APC
- 100329DC
- 100336DC
- 100336PC
- 100341QC
- 100351DC
- 100351PC
- 100363QC
- 100364QC
- 100370QC
- 100390QC
- 100398QI
- 11AA010T-I/TT
- 11AA160T-I/TT
- 11LC010T-I/TT
- 11LC020T-I/TT
- 11LC040T-E/TT
- 11LC160T-E/TT
- 1ED020I12-F
- 2304NZGI-1LF
- 23A640-I/SN
- 23K256-I/SN
- 23K256-I/ST