- 封装:100-LQFP
- RoHS:无铅 / 符合限制有害物质指令(RoHS)规范要求
- 包装方式:带卷 (TR)
- 参考价格:$7.049
更新日期:2024-04-01 00:04:00
产品简介:Stellaris LM3S 微控制器
- 封装:100-LQFP
- RoHS:无铅 / 符合限制有害物质指令(RoHS)规范要求
- 包装方式:带卷 (TR)
- 参考价格:$7.049
LM3S6432-IQC50-A2T 供应商
- 公司
- 型号
- 品牌
- 封装/批号
- 数量
- 地区
- 日期
- 说明
- 询价
-
TI
-
原厂原装
22+ -
3288
-
上海市
-
-
-
一级代理原装
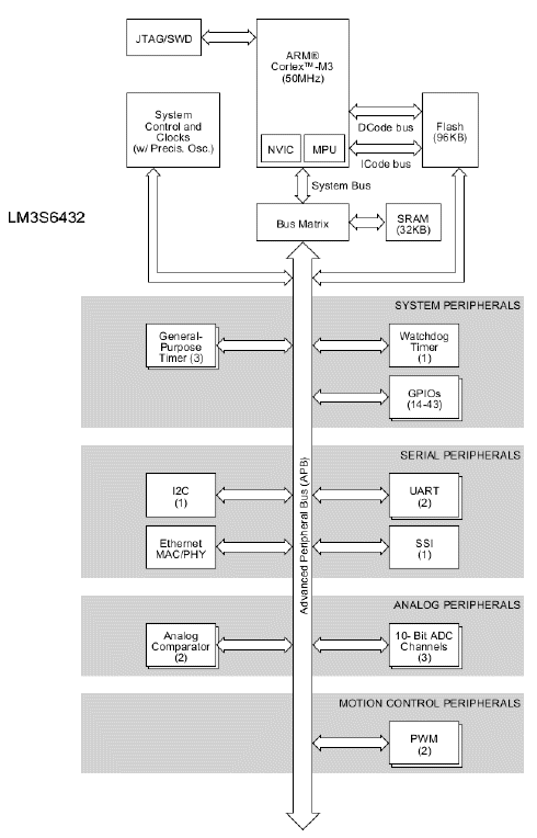
LM3S6432-IQC50-A2T 中文资料属性参数
- 产品培训模块:Introduction to Stellaris Cortex M3 MicrocontrollerStellaris Cortex M3 Microcontroller Feature SetStellaris® Connectivity Solutions
- 标准包装:1,000
- 类别:集成电路 (IC)
- 家庭:嵌入式 - 微控制器,
- 系列:Stellaris® 6000
- 核心处理器:ARM? Cortex?-M3
- 芯体尺寸:32-位
- 速度:50MHz
- 连通性:以太网,I²C,IrDA,Microwire,SPI,SSI,UART/USART
- 外围设备:欠压检测/复位,POR,PWM,WDT
- 输入/输出数:43
- 程序存储器容量:96KB(96K x 8)
- 程序存储器类型:闪存
- EEPROM 大小:-
- RAM 容量:32K x 8
- 电压 - 电源 (Vcc/Vdd):2.25 V ~ 2.75 V
- 数据转换器:A/D 3x10b
- 振荡器型:内部
- 工作温度:-40°C ~ 85°C
- 封装/外壳:100-LQFP
- 包装:带卷 (TR)
LM3S6432-IQC50-A2T 电路图
LM3S6432-IQC50-A2T 电路图
LM3S6432-IQC50-A2T 相关产品
- ADUC7019BCPZ62I
- ADUC7019BCPZ62IRL7
- ADUC7020BCPZ62I-RL
- ADUC7020BCPZ62IRL7
- ADUC7020BCPZ62-RL7
- ADUC7021BCPZ32-RL7
- ADUC7021BCPZ62I-RL
- ADUC7022BCPZ32-RL
- ADUC7022BCPZ62
- ADUC7022BCPZ62-RL7
- ADUC7023BCPZ62I-R7
- ADUC7024BCPZ62I-RL
- ADUC7025BCPZ62-RL
- ADUC7025BSTZ62-RL
- ADUC7026BSTZ62
- ADUC7026BSTZ62-RL
- ADUC7028BBCZ62-RL
- ADUC7029BBCZ62I-RL
- ADUC7029BBCZ62-RL
- ADUC7032BSTZ-88
- ADUC7032BSTZ-88-RL
- ADUC7034BCPZ
- ADUC7036CCPZ
- ADUC7036CCPZ-RL
- ADUC7036DCPZ
- ADUC7036DCPZ-RL
- ADUC7039BCP6Z
- ADUC7039BCP6Z-RL
- ADUC7060BCPZ32-RL
- ADUC7061BCPZ32

搜索
发布采购