- 参考价格:¥6.29-¥6.80
更新日期:2024-04-01 00:04:00
产品简介:具有电源故障输入、低电平线路输出和手动复位功能的电压监控器和复位 IC
查看详情- 参考价格:¥6.29-¥6.80
LM3704YCMMX-308/NOPB 供应商
- 公司
- 型号
- 品牌
- 封装/批号
- 数量
- 地区
- 日期
- 说明
- 询价
-
TI
-
原厂原装
22+ -
3288
-
上海市
-
-
-
一级代理原装
LM3704YCMMX-308/NOPB 中文资料属性参数
- 制造商:National Semiconductor (TI)
- 监测电压数:1
- 监测电压:1 V to 5.5 V
- 欠电压阈值:3.06 V
- 过电压阈值:3.1 V
- 输出类型:Active Low, Open Drain
- 人工复位:Resettable
- 监视器:No Watchdog
- 电池备用开关:No Backup
- 上电复位延迟(典型值):200 ms
- Supply Voltage - Max:5.5 V
- Supply Voltage - Min:1 V
- 电源电流(典型值):28 uA
- 最大工作温度:+ 85 C
- 安装风格:SMD/SMT
- 封装 / 箱体:MSOP
- 封装:Reel
- 最小工作温度:- 40 C
- 功率失效检测:Yes
- 工厂包装数量:3500
产品特性
- Available Threshold Voltage of 3.08 V and 2.32 V
- No External Components Required
- Manual-Reset Input
- Available in Both Open-Drain and Push-Pull Configuration
- Reset Time-Out Delay of 200 ms
- Separate Power-Fail Comparator
- ±0.5% Reset Threshold Accuracy at Room Temperature
- ±2% Reset Threshold Accuracy Over Temperature
- 28-µA VCC Supply Current
产品概述
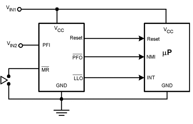
The LM3704 is a feature-rich, easy-to-use voltage supervisor. It is offered in both
push-pull and open-drain configuration with a tight 2% accuracy over temperature.The LM3704 features include a manual reset, low-line output, and power-fail input
detection. The power-fail input allows for a configurable second rail to be monitored helping
detect upstream failures. The low-line output is used as a second interrupt line to indicate a fall
in VCC (1.02 × VRST).
LM3704YCMMX-308/NOPB 电路图
LM3704YCMMX-308/NOPB 电路图
LM3704YCMMX-308/NOPB 相关产品
- 100301QC
- 100304QC
- 100310QC
- 100311QC
- 100313QC
- 100316QC
- 100322QC
- 100329APC
- 100329DC
- 100336DC
- 100336PC
- 100341QC
- 100351DC
- 100351PC
- 100363QC
- 100364QC
- 100370QC
- 100390QC
- 100398QI
- 11AA010T-I/TT
- 11AA160T-I/TT
- 11LC010T-I/TT
- 11LC020T-I/TT
- 11LC040T-E/TT
- 11LC160T-E/TT
- 1ED020I12-F
- 2304NZGI-1LF
- 23A640-I/SN
- 23K256-I/SN
- 23K256-I/ST

搜索
发布采购