更新日期:2024-04-01 00:04:00
产品简介:具有 TTL 兼容型 CMOS 输入和三态输出的航天类 8 通道、4.5V 至 5.5V 缓冲器
查看详情5962-8776001SRA 中文资料属性参数
- 现有数量:0现货1,520Factory
- 价格:在售
- 系列:*
- 包装:管件
- 产品状态:在售
- 逻辑类型:-
- 元件数:-
- 每个元件位数:-
- 输入类型:-
- 输出类型:-
- 电流 - 输出高、低:-
- 电压 - 供电:-
- 工作温度:-
- 安装类型:-
- 封装/外壳:-
- 供应商器件封装:-
产品特性
- 4.5V 至 5.5V VCC 运行
- 输入电压高达 5.5V
- 5V 时,tpd 最大值为 9.5ns
- 输入与 TTL 兼容
- 对于符合 MIL-PRF-38535 标准的产品,所有参数均经过测试,除非另有说明。对于所有其他产品,生产流程不一定包含对所有参数的测试。
产品概述
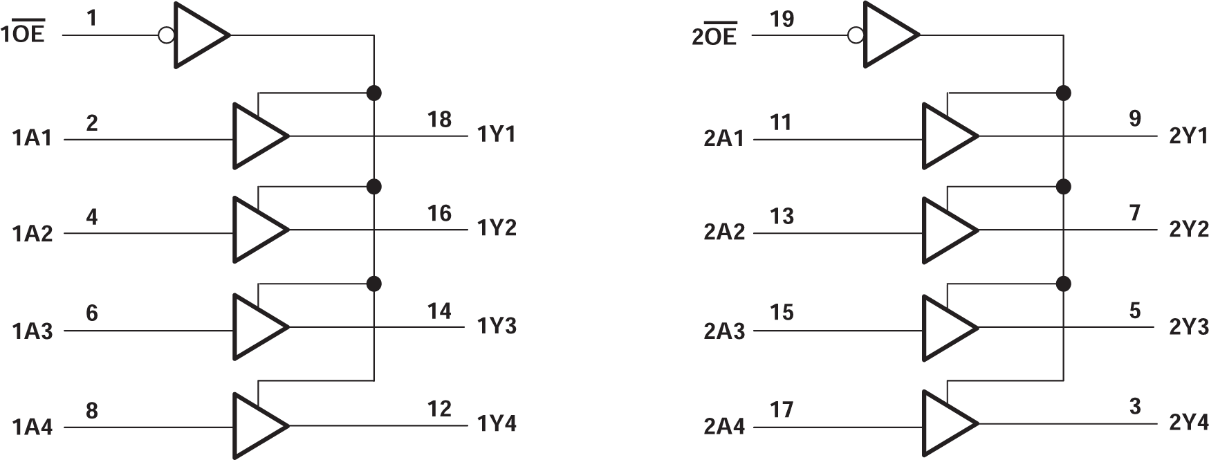
这些 SNx4ACT244
八通道缓冲器和驱动器专门设计用于提高三态存储器地址驱动器、时钟驱动器以及总线导向接收器和发送器的性能和密度。SNx4ACT244
器件配置为两个具有独立输出使能 (OE) 输入的 4 位缓冲器和驱动器。当 OE 为低电平时,该器件将来自 A 输入的同相数据传输到 Y 输出。当 OE 为高电平时,输出处于高阻态。
5962-8776001SRA 电路图
5962-8776001SRA 电路图
5962-8776001SRA 相关产品
- 1P1G125QDRYRQ1
- 1P1G126QDRYRQ1
- 1P2GU04QDRYRQ1
- 2N7001TDCKR
- 2N7001TDPWR
- 54FCT245TDB
- 5962-8762401CA
- 5962-8766301MRA
- 5962-8768001EA
- 7202LA50JG
- 7203L20TDB
- 7204L35J
- 72805LB15PF
- 7280L20PA
- 72V201L15PFGI
- 72V211L10PFG
- 72V245L10PFG
- 72V3640L10PF
- 72V3660L7-5PFI
- 72V70210DAG
- 72V70840DAG
- 72V73273BBG
- 74AHC05S14-13
- 74AHC05T14-13
- 74AHC1G126MDCKTEP
- 74AHC32S14-13
- 74AHC594S16-13
- 74AHC594T16-13
- 74AHCT08PW-Q100J
- 74AHCT125S14-13

搜索
发布采购